Newspaper and magazine articles related to Nikola Tesla

Nikola Tesla Articles

Newspaper and magazine articles related to Nikola Tesla

Tesla's Aircraft of the Future Page 6

Galaxy - September 1st, 1984

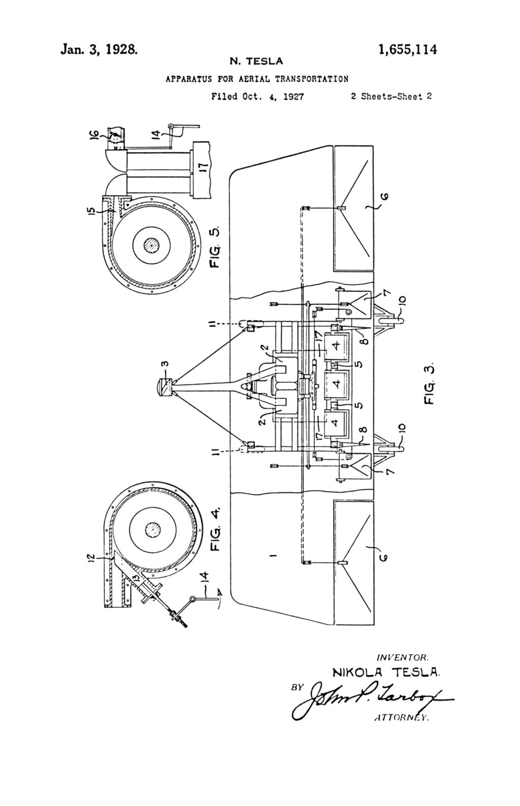
Tesla's VTOL (vertical take-off) aircraft, top view, with engine details.

that is needed, and in quantities that exceed the usual."

Tesla tried to solve several problems with his patent for vertical take-off. At the time he presented his idea, there was much talk and writing in the world about the still unresolved issues concerning helicopter flight. The Spaniard Juan de la Cierva was the first to build an aircraft that can be called a precursor to the helicopter in 1923, when he made the first successful flight. Tesla was very interested in this problem, so, considering the advantages and disadvantages of airplanes and helicopters, he found a solution in the idea of vertical take-off. This idea is not new, but the fantastic concepts that emerged before Tesla cannot be called serious. When designing his aircraft, which he called a "helicopter-plane", Tesla took into account aerodynamics and stability, as well as propulsion power, so his solution can be called realistic and achievable.

When Tesla states at the end of the patent application: "All of this can be greatly changed, and I want it to be understood that I do not limit myself to precise illustrated or descriptive solutions," referring to technical details, it is evident that in his patent he primarily wants to affirm two things. One is the idea of vertical take-off, which has been utilized in aviation and VTOL aircraft that fly today, though not for commercial purposes as Tesla envisioned, but mainly for military use. The other is the use of his turbine on aircraft. This second idea still gives Tesla's work a modern and novel dimension today, especially considering the attention currently dedicated worldwide in scientific and professional journals and institutions to Tesla's turbine, various technical problems, and its operation, as well as the possibilities of its application, among other things, in unmanned aircraft.

With the acquisition of this patent in 1928, Tesla concluded his long-standing work in aviation, and judging at least by his legacy, except for the patent of one English inventor from 1940 which for some reason interested Tesla, his interest in aviation diminished.

After 1930, Tesla generally withdrew into solitude. Due to financial difficulties, he could not maintain his laboratory, which was probably one of the reasons for his isolation. Only occasionally would he appear with some sensational statement or new invention, but in aviation, he no longer had new ideas.

It is difficult to fully assess Tesla's contribution to this field of technology, but the fact that many of Tesla's ideas and opinions have been realized, and some discoveries still attract the interest of scientists today, not only sheds further light on his rich creative and investigative personality but also provides sufficient material for Tesla's work to gain broader significance. This has been done in a certain way in our country, and in the new exhibition of the Museum of Aviation, in Belgrade, which is still under construction, Tesla will be included among the pioneers of aviation.

Branimir JOVANOVIĆ
 

Downloads

Downloads for this article are available to members.
Log in or join today to access all content.