Newspaper and magazine articles related to Nikola Tesla

Nikola Tesla Articles

Newspaper and magazine articles related to Nikola Tesla

Tesla Double-Circuit Selective Space Telegraph System

March 28th, 1903
Page number(s):
240-241

Nikola Tesla has found that, notwithstanding all constructive advantages and experimental resources, the method of selective signaling in space telegraphy, as commonly practiced, is in many cases inadequate. Thus, while he has succeeded in so operating selectively under certain favorable conditions more than 100 receivers, in most cases it is practicable to work successfully but a few, the number rapidly diminishing as, either owing to great distance or other causes, the energy available in the tuned circuits becomes smaller and the receivers necessarily more delicate. Evidently, a circuit however well constructed and adjusted to respond exclusively to vibrations of one period is apt to be affected by higher harmonics, and still more so by lower ones. When the oscillations are of a very high frequency, the number of the effective harmonics may be large and the receiver consequently easily disturbed by extraneous influences to such an extent that when very short waves, such as those produced by Hertzian spark apparatus, are used little advantage in this respect is to be derived from tuning the circuits.

“It being an imperative requirement in most practical applications of such systems of signaling or intelligence transmission,” says Mr. Tesla, “that the signals or messages should be exclusive or private, it is highly desirable to do away with the above limitations, especially in view of the fact which I have observed, that the influence of powerful electrical disturbances upon sensitive receivers extends even on land to distances of many hundreds of miles, and consequently, in accordance with theory, still farther on sea.” To overcome these drawbacks and to enable a great number of transmitting and receiving stations to be operated selectively and exclusively and without any danger of the signals or messages being disturbed, intercepted, or interfered with in any way is the object of an invention recently patented by Mr. Tesla.

Broadly stated, this invention consists in generating two or more kinds or classes of disturbances or impulses of distinctive character with respect to their effect upon a receiving circuit and operating thereby a distant receiver which comprises two or more circuits, each of which is tuned to respond exclusively to the disturbances or impulses of one kind or class and so arranged that the operation of the receiver is dependent upon their conjoint or resultant action.

By employing only two kinds of disturbances or series of impulses instead of one, as has heretofore been done, to operate a receiver of this kind, he has found that safety against the disturbing influences of other sources is increased to such an extent that he believes this number to be amply sufficient in most cases for rendering the exchange of signals or messages reliable and exclusive; but in exceptional instances a greater number may be used and a degree of safety against mutual and extraneous interference attained, such as is comparable to that afforded by a combination lock. The liability of a receiver being affected by disturbances emanating from other sources, as well as that of the signals or messages being received by instruments for which they are not intended, may, however, be reduced not only by an increased number of the co-operative disturbances or series of impulses, but also by judicious choice of the same and order in which they are made to act upon the receiver.

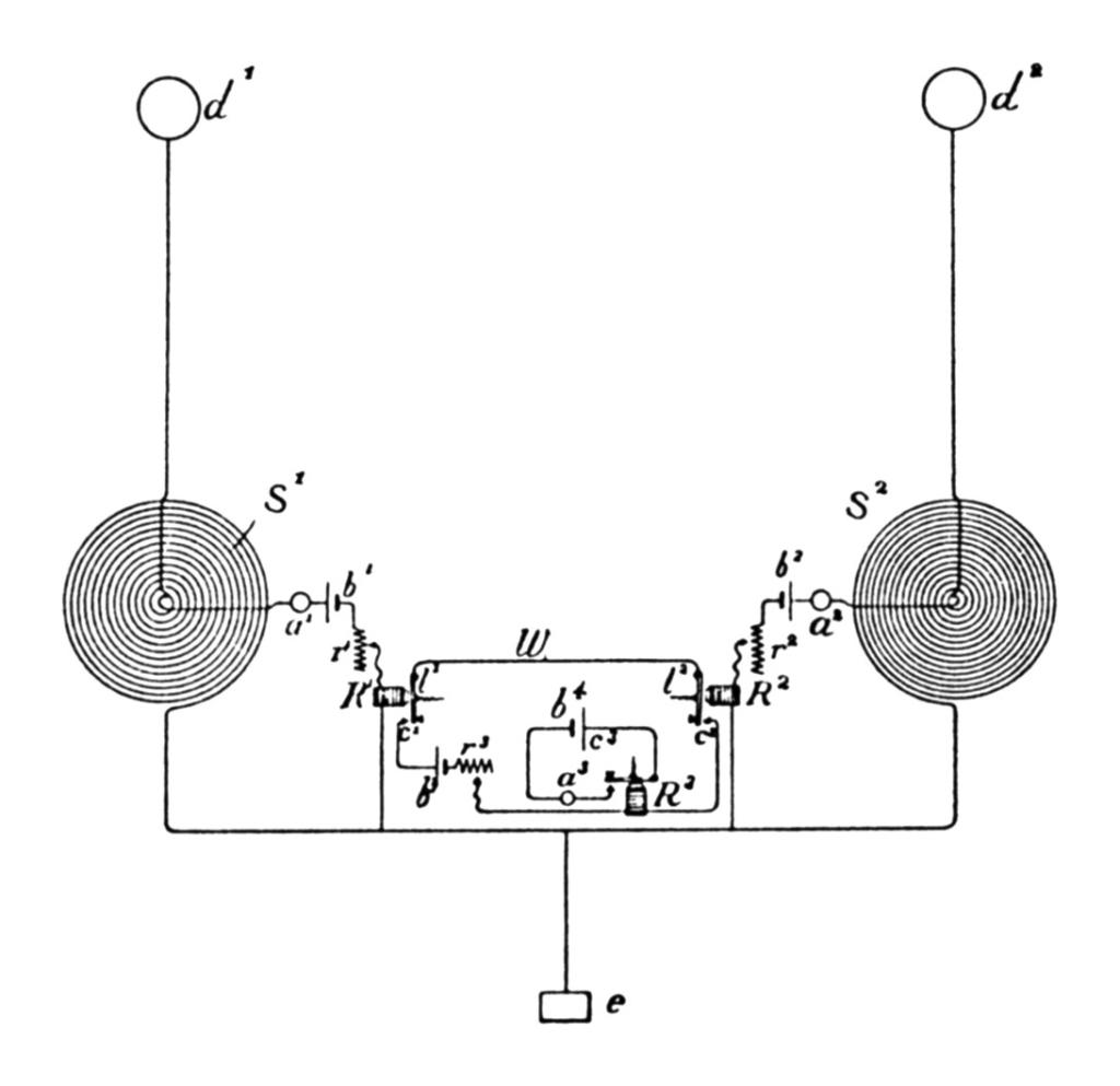
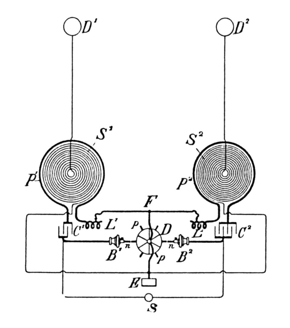
Fig. 1. Tesla Double-Circuit Selective Space-Telegraph System. - Sending Station.
Fig. 2. Tesla Double-Circuit Selective Space-Telegraph System. - Receiving Station.

Figs. 1 and 2 represent diagrammatically an apparatus and circuit connections employed at the sending and receiving stations, respectively, for the practice of Mr. Tesla’s invention.

In Fig. 1, (S’) (S2) are two spirally wound coils or conductors connected with their inner ends, to preferably elevated terminals (D’) and (D2), respectively, and with their outer ends to an earth plate (E). These two coils, conductors, or systems, (D’) (S’) (E) and (D2) (S2) (E) have different and suitably chosen periods of vibration, and, as pointed out in other patents relating to his system of energy and intelligence transmission, their lengths should be such that the points of maximum pressure developed therein coincide with the elevated terminals (D’) (D2). The two systems may have electrical oscillations impressed upon them in any desired manner conveniently by energizing them through primaries (P’) and (P2), placed in proximity to them. Adjustable inductances (L’) and (L2) are preferably included in the primary circuits chiefly for the purpose of regulating the rates of the primary oscillations. In the drawings these primaries (P’) and (P2) surround the coils (S’) (S2), and are joined in series through the inductances (L’) (L2), conductor (F), condensers (C’) and (C2), brush-holders (B’) and (B2), and a toothed disk (D), which is connected to the conductor (F), and, if desired, also to the ground plate (E), as shown, two independent primary circuits being thus formed.

The condensers (C’) and (C2) are of such capacity and the inductances (L’) (L2) are so adjusted that each primary is in close resonance with its secondary system, as explained in other Tesla patents. The brush-holders (B’) and (B2) are capable independently of angular and, if necessary, also of lateral adjustment, so that any desired order of succession or any difference of time interval between the discharges occurring in the two primary circuits may be obtained. The condensers being energized from a suitable source (S), preferably of high potential, and the disk (D) being rotated, its projections or teeth (p p) coming at periodically recurring intervals in very close proximity to or, as the case may be, in contact with conducting rods or brushes (n n), cause the condensers to be discharged in rapid succession through their respective circuits. In this manner the two secondary systems (D’) (S’) (E) and (D2) (S2) (E) are set in vibration and oscillate freely, each at its proper rate for a certain period of time at every discharge. The two vibrations are impressed upon the ground through the plate (E) and spread to a distance reaching the receiving station, which has two similar circuits or systems (e) (s’) (d’) and (e) (s2) (d2), arranged and connected in the same manner and tuned to the systems at the sending station, so that each responds exclusively to one of the two vibrations produced by the transmitting apparatus.

The same rules of adjustment are observed with respect to the receiving circuits, care being furthermore taken that the tuning is effected when all the apparatus is connected to the circuits and placed in position, as any change may more or less modify the vibration. Each of the receiving coils (s’) and (s2) is shunted by a local circuit containing, respectively, sensitive devices (a’) (a2), batteries (b’) (b2), adjustable resistances (r’) (r2), and sensitive relays (R’) (R2), all joined in series, as shown. The relays (R’) (R2) have armatures (l’) (l2), which are connected by a wire (w), and when attracted establish electrical contacts at (c’) and (c2), thus closing a circuit containing a battery (b2) and adjustable resistance (r2) and a relay (R2). From the above description it will be readily seen that the relay (R2) will be operated only when both contacts (c’) and (c2) are closed.

The apparatus at the sending station may be controlled in any suitable manner - as, for instance, by momentarily closing the circuit of the source (S), two different electrical vibrations being emitted simultaneously or in rapid succession, as may be desired, at each closure of the circuit. The two receiving circuits at the distant station, each tuned to respond to the vibrations produced by one of the elements of the transmitter, affect the sensitive devices (a’) and (a3) and cause the relays (R’) and (R2) to be operated and contacts (c’) and (c2) to be closed, thus actuating the receiver or relay (R2), which in turn establishes a contact (c3) and brings into action a device (a3), by means of a battery (d4), included in a local circuit, as shown. But evidently if through any extraneous disturbance only one of the circuits at the receiving station is affected the relay (R3) will fail to respond. In this way a communication may be carried on with greatly increased safety against interference, and privacy of the messages may be secured.

The receiving station shown in Fig. 2 is supposed to be one requiring no return message; but if the use of the system is such that this is necessary, then the two stations will be similarly equipped, and any well-known means may be resorted to for enabling the apparatus at each station to be used in turn as transmitter and receiver. In like manner the operation of a receiver, as (R2), may be made dependent, instead of upon two, upon more than two such transmitting systems or circuits, and thus any desired degree of exclusiveness or privacy and safety against extraneous disturbances may be attained. The apparatus, as illustrated in Figs. 1 and 2, permits, however, special results to be secured by the adjustment of the order of succession of the discharges of the primary circuits (P’) and (P2), or of the time intervals between such discharges.

“Whatever the nature of the specific devices employed,” says Mr. Tesla, “it will be seen that the fundamental idea in my invention is the operation of a receiver by the conjoint or resultant effect of two or more circuits, each attuned to respond exclusively to waves, impulses, or vibrations of a certain kind or class, produced either simultaneously or successively, by a suitable transmitter.”

Downloads

Downloads for this article are available to members.
Log in or join today to access all content.